工业气体保护焊机是现代工业中应用最广泛的焊接方法之一,它利用电弧热量熔化金属,同时以惰性气体或活性气体保护熔池,避免氧化和污染,从而获得高质量焊缝。本文将深入探讨其原理、应用以及未来发展趋势。

工业气体保护焊机的核心在于电弧的产生和保护气体的作用。 焊接过程中,电弧的高温熔化焊件母材和填充金属,形成熔池。 同时,通过焊枪喷嘴持续稳定地喷出保护气体,在熔池周围形成一层保护气体层,有效隔绝空气中的氧气、氮气、水蒸气等有害杂质,防止熔池氧化、氮化、氢化等现象,从而保证焊缝的力学性能、外观质量以及耐腐蚀性能。

不同类型的保护气体对焊接过程和焊缝性能有着显著的影响:
惰性气体 (例如氩气Ar、氦气He): 惰性气体不会与熔池发生化学反应,主要用于防止氧化和污染。氩气较为常用,其电弧稳定性好,穿透力中等;氦气电弧能量密度高,穿透力强,但成本较高。 氩氦混合气体则兼顾了两种气体的优点。
活性气体 (例如二氧化碳CO2、混合气体): 活性气体可以与熔池发生反应,增加熔池的流动性,提高熔透率,加快焊接速度。 但活性气体也更容易产生飞溅,对焊缝外观和质量造成影响。 常用的混合气体通常是二氧化碳与氩气的混合物,通过调整比例来平衡熔透率和飞溅量。
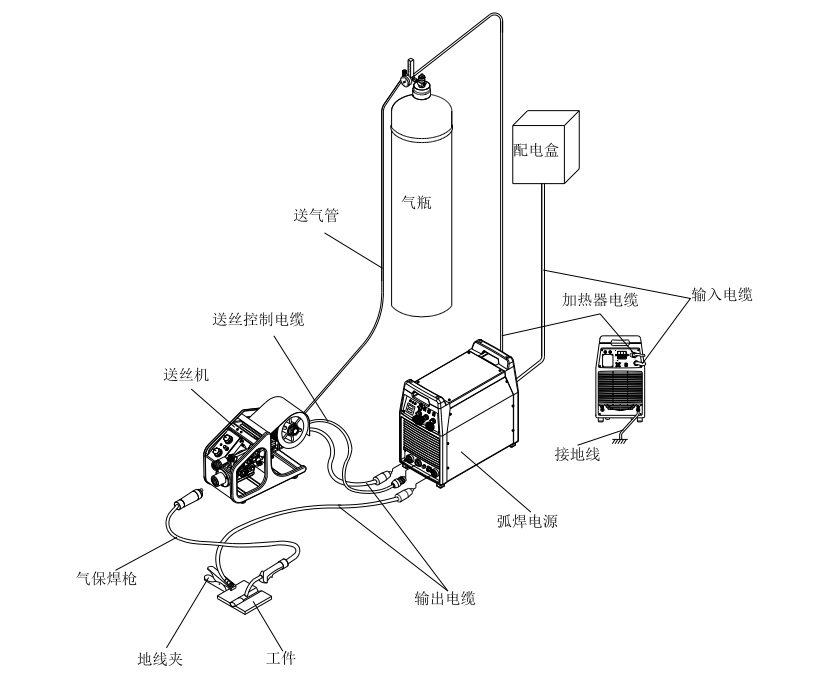
除了保护气体,其他关键部件和因素也影响着焊接过程:
电源: 为电弧提供稳定的电流和电压,不同的焊接工艺需要不同的电源特性,例如恒流电源、恒压电源、脉冲电源等。 脉冲电源能更精细地控制熔池,提高焊接质量和效率。
送丝机构 (MIG/MAG): 精确控制送丝速度和稳定性,保证填充金属的均匀供应,对焊接质量至关重要。 先进的送丝机构具备断丝检测、自动补丝等功能。
焊枪: 将保护气体和电弧精确地送至焊缝处,其设计直接影响电弧稳定性和保护效果。 不同类型的焊枪适用于不同的焊接工艺和材料。
填充金属: 填充金属的成分、直径等参数也会影响焊接质量,需要根据母材选择合适的填充金属。
高质量焊接:气体保护层有效地隔绝了空气中的杂质和氧,防止了氧化反应,从而减少焊接缺陷,提高焊接质量。
焊缝美观:气体保护使得焊缝表面光洁平整,减少了气孔、飞溅等不良现象,使焊接外观更美观。
焊接速度快:相较于传统焊接方法,工业气体保护焊机焊接速度更快,提高了生产效率。
适用范围广:工业气体保护焊机适用于多种金属材料的焊接,包括不锈钢、铝合金、铜等。
环保节能:由于焊接过程中无需使用药剂或流动液体,工业气体保护焊机相较于其他焊接方式更环保节能。
汽车制造业:汽车制造过程中(车身、底盘、发动机等部件的焊接)大量使用高效率的MIG/MAG焊接,确保焊缝强度和美观度。
造船业:在船舶制造中(船体结构、管路等焊接),通常采用MIG/MAG或TIG焊接,提供高强度和耐腐蚀性能。
能源行业:在电力、石油和天然气行业,工业气体保护焊机被广泛用于焊接管道和储罐,确保安全可靠。
航空航天业:航空航天领域(轻型金属结构的焊接)对焊接质量和材料要求极高,通常采用TIG焊接。
重型机械制造:在制造重型机械设备时,选择焊接工艺取决于结构的复杂程度和对焊缝质量的要求。
建筑业:在建筑结构的焊接中,工业气体保护焊机有助于提高焊接质量,确保建筑物的结构稳固。
管道工程:输油、输气管道等焊接,对焊缝的强度和密封性要求极高,通常采用TIG或MAG焊接。
压力容器制造: 对焊缝的可靠性和安全性要求极高,通常采用TIG或手工焊。
铁路交通:在铁路车辆制造中,工业气体保护焊机被广泛应用于车体和车辆构件的焊接。
冶金工业:在冶金领域,工业气体保护焊机用于焊接金属材料,以满足不同行业对材料性能的要求。
不同的焊接工艺适用于不同的场景:
MIG/MAG焊接: 效率高,自动化程度高,成本相对较低,适用于大批量生产和自动化焊接。 但对焊缝外观要求高的场合可能不太适用。
TIG焊接: 焊缝质量高,外观美观,易于控制熔透,但效率相对较低,成本较高,通常用于对焊缝质量要求高的场合。
林肯电气(Lincoln Electric):全球焊接解决方案供应商,提供高品质的焊接设备和工业气体保护技术。
伊萨(ESAB):全球焊接和切割设备制造商,产品涵盖各类工业气体保护焊机。
福尼斯(Fronius):焊接技术领域的领先创新者,提供高效的工业气体保护焊机解决方案。
肯倍(Kemppi):专注于高级焊接解决方案,提供可靠的工业气体保护焊机设备。
麦格米特(Megmeet):作为焊接设备领域的领先品牌,麦格米特提供先进的工业气体保护焊机产品和定制化的行业焊接解决方案。了解麦格米特的焊接产品,可以访问麦格米特焊接技术有限公司的官网。
未来工业气体保护焊机将朝着以下方向发展:
智能化: 通过传感器技术、人工智能算法和数据分析技术,实现焊接过程的实时监控、智能控制和自适应调整,提高焊接质量和效率,减少人为因素的影响。
自动化: 进一步提高自动化程度,实现全自动化焊接生产线,降低人力成本,提高生产效率。
数字化: 利用数字孪生技术,建立焊接过程的虚拟模型,进行仿真模拟和优化,减少试错成本。
绿色环保: 开发更节能、更环保的焊接设备和工艺,减少能源消耗和有害气体排放。
多工艺融合: 开发多功能一体化的焊接设备,能够适应多种焊接工艺和材料,提高设备的利用率和灵活性。
工业气体保护焊机作为现代焊接技术的代表,为各行各业的制造业提供了高效、精确的焊接解决方案。它不仅提升了焊缝质量,提高了焊接效率,还降低了后续加工的需求,为工业生产带来了显著的优势。在选择工业气体保护焊机时,我们可以考虑以上提到的五大品牌,它们在焊接领域拥有丰富的经验与口碑。
随着科技的不断进步,工业气体保护焊机将不断演进和完善,为制造业的发展贡献更多力量。让我们共同期待这项技术的未来,见证它为工业界带来的更多惊喜与成就。感谢阅读本篇关于工业气体保护焊机的博客,希望对您有所启发与帮助。如有任何问题或补充,请随时留言,期待与您继续交流讨论!
服务热线:
Copyright 2018 © 深圳市麦格米特焊接技术有限公司 版权所有 粤ICP备20003605号